放射治疗激光定位设备注册审查指导原则
本指导原则旨在指导注册申请人对放射治疗激光定位设备(以下简称“激光定位设备”)注册申报资料的准备及撰写,同时也为技术审评部门审评注册申报资料提供参考。
本指导原则是激光定位设备的一般要求,申请人应依据产品的具体特性确定其中的内容是否适用。若不适用,需具体阐述其理由及相应的科学依据,并依据具体的产品特性对注册申报资料的内容进行充实和细化。
本指导原则是供注册申请人和技术审评人员使用的指导性文件,但不包括注册审批所涉及的行政事项,亦不作为法规强制执行,应在遵循相关法规的前提下使用本指导原则。如果有能够满足相关法规要求的其他方法,也可以采用,但是需要提供详细的研究资料和验证资料。
本指导原则是在现行法规和标准体系以及当前认知水平下制定的,随着法规和标准的不断完善,以及科学技术的不断发展,相关内容也将适时进行调整。
一、适用范围
本指导原则适用于与不同类型放射治疗及定位设备(例如伽玛射束远距离治疗机、医用电子加速器、放射治疗模拟系统、放射治疗CT模拟机、放射治疗MRI模拟机等)配套使用,用于在患者皮肤上、患者固定装置及立体定向框架等配准装置上投射出位置参考标记,以便放射治疗时对患者进行定位的外置激光定位设备。按现行《医疗器械分类目录》,该类产品分类编码为05-04-06,管理类别为Ⅱ类。
二、注册审查要点
(一)监管信息
明确申请表中产品名称、管理类别、分类编码、型号规格、产品组成等信息。
1.产品名称
产品命名需符合《医疗器械通用名称命名规则》的要求,可参考《放射治疗器械通用名称命名指导原则》的命名形式,如放射治疗激光定位设备。
2.注册单元划分
注册单元划分应符合《医疗器械注册单元划分指导原则》的要求,原则上以产品的技术原理、结构组成、性能指标和适用范围为划分依据。
(二)综述资料
1.产品描述
1.1器械及操作原理描述
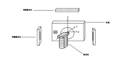
申请人应当根据拟申报产品的具体特征详细说明产品工作原理、结构及组成、组成部件的功能(应包含激光器的类型、数量、激光颜色及波长、投射和移动方式(如适用)、最大功率或能量输出、激光光源移动速度(如适用)、软件功能(如适用)等)、产品图示(应包含关键部件的图示(如爆炸图、三视图)、标识、接口等细节)、使用方法(应结合图示对激光定位设备的完整定位过程进行描述)、以及区别于其他同类产品的特征等内容。
1.1.1工作原理
激光定位设备采用右手直角坐标系,使用不高于2M类的激光器件,可投射出线宽不大于1mm的清晰、明亮的红色、绿色或蓝色激光线。
移动式激光定位设备:安装在X、Y、Z方位的激光灯组通过手动或者遥控调节,可分别投射出相互垂直共面的矢状面、冠状面和横断面激光线,控制装置按照模拟定位系统确定的摆位坐标驱动激光灯组移动到定位点,并在患者体表两侧及上表面显示出“十”字标记点,以便放射治疗时对患者病灶进行定位。
图1 移动式激光灯投射示意图
固定式激光定位设备:固定式激光定位设备主要安装在放射治疗室,在X、Y、Z方位的激光灯可分别投射出相互垂直共面的矢状面、冠状面和横断面激光线,各线的交点与放射治疗设备的等中心点完全重合,进行患者摆位时,在患者体表两侧及上表面显示出“十”字标记点,用于放射治疗时对患者病灶进行定位。
图2 固定式激光灯投射示意图

1.1.2结构组成
激光定位设备通常由电源模块、多个固定式或移动式激光灯组件、控制装置、遥控器(如有)、软件(如有)等组成。申请人应根据自身产品特点对结构组成进行描述。
图3 激光定位设备结构示意图

注:上述示意图仅供参考,具体产品结构组成和图示应根据实际产品确定。
1.1.3产品及其组成部件的功能。应包含电源模块的结构、电气参数等;电机的性能参数信息;激光器的调节方式、最大功率或能量输出;控制装置的组成结构、功能、部件信息;遥控器功能(如有)、软件功能(如有)等,可以采用图示结合文字描述的形式给予明确说明。
1.1.4使用方法:应结合图示对激光定位设备的完整定位过程进行描述。
1.2型号规格
对于存在多种型号规格的产品,应当明确各型号规格的区别。建议采用对比表或带有说明性文字的图片、图表,描述各种型号规格的组成、功能、产品特征和技术参数等内容。
1.3包装说明
描述产品包装的组成部分,应分别给出所有产品组成的包装信息。说明包装清单和包装方式,提供包装图示。
1.4研发历程
阐述申请注册产品的研发背景和目的。如有参考的同类产品或前代产品,应当提供同类产品或前代产品的信息,并说明选择其作为研发参考的原因。
1.5与同类和/或前代产品的参考和比较
列表比较说明申报产品与同类产品和/或前代产品在工作原理、结构组成、制造材料、性能指标、作用方式,以及适用范围等方面的异同。
2.适用范围和禁忌证
2.1适用范围
产品在医疗机构中用于患者放射治疗时的模拟定位/辅助定位。
2.2预期使用环境
需明确设备使用场所和使用环境要求。
设备使用场所包括:医疗机构。
使用环境要求需至少包括:推荐的产品使用的适宜温度、湿度、大气压等。
2.3禁忌证
无。
(三)非临床资料
1.产品风险管理资料
激光定位设备的风险管理报告应符合GB/T 42062《医疗器械 风险管理对医疗器械的应用》的有关要求,审查要点包括:
1.1根据产品的预期用途以及合理可见的误使用,确定与安全有关的特性;
1.2危险和危险情况的识别可参考GB/T 42062标准附录C;
1.3风险控制的方案、方案实施的验证、方案有效性的验证,及综合剩余风险的评价可参考GB/T42062标准第7、第8章的相关要求;
1.4应提供采取风险控制措施前后的风险矩阵表,有综合剩余风险是否可接受的判定。
附件依据GB/T 42062标准附录C列举了激光定位设备有关的可能危险示例的不完全清单,以帮助判定与激光定位设备有关的危险。注册申请人还应根据自身产品特点确定其他可能危险。针对产品的各项风险,注册申请人应确定是否采取控制措施,确保风险降到可接受的程度。
2.医疗器械安全和性能基本原则清单
说明产品符合《医疗器械安全和性能基本原则清单》各项适用要求所采用的方法,以及证明其符合性的文件。对于不适用的各项要求,应当说明理由。
对于包含在产品注册申报资料中的文件,应当说明其在申报资料中的具体位置;对于未包含在产品注册申报资料中的文件,应当注明该证据文件名称及其在质量管理体系文件中的编号备查。
3.产品技术要求及检验报告
3.1申报产品适用标准情况
申报产品应当符合适用的强制性标准。对于强制性行业标准,若申报产品结构特征、预期用途、使用方式等与强制性标准的适用范围不一致,申请人应当提出不适用强制性标准的说明,并提供经验证的证明性资料。
3.2产品技术要求
产品技术要求应按照《医疗器械产品技术要求编写指导原则》相关要求的规定编制。本条款给出需要考虑的产品主要技术指标,如有其他指标,注册申请人结合相应的标准和自身的技术能力,予以明确。如不采用以下条款(包括国家标准、行业标准要求),应当说明理由。
3.2.1产品型号规格及其划分说明
产品可按结构组成、技术参数、预期用途等划分为不同型号和规格。若产品有多个型号,应提供型号间的主要差异对比表。若含有软件,应明确软件发布版本和软件完整版本命名规则。
3.2.2性能指标
产品性能指标应不低于YY/T 1537和适用的国家标准中适用条款的要求。如有不适用条款,申请人需在申报资料中说明理由,并提供充分证据证明相关的风险得到有效的控制。产品性能指标包括但不限于以下内容:
3.2.2.1外观
3.2.2.2激光分类
3.2.2.3激光定位线宽度
3.2.2.4激光定位线长度
3.2.2.5激光定位线直线度
3.2.2.6激光十字定位线的垂直度(如适用)
3.2.2.7定位准确性
3.2.2.8激光系统移动范围
3.2.2.9软件性能指标(如适用)
3.2.2.10网络安全(如适用)
3.2.2.11 MRI兼容性(如适用)
3.2.3激光安全要求
应符合GB 7247.1《激光产品的安全第1部分:设备分类、要求》的要求。
3.2.4电气安全要求
应符合GB 9706.1《医用电气设备第1部分:基本安全和基本性能的通用要求》的要求。
3.2.5电磁兼容性要求
应符合YY 9706.102《医用电气设备 第1-2部分:基本安全和基本性能的通用要求 并列标准:电磁兼容 要求和试验》的要求。
3.3产品检验报告
申请人应当按照产品技术要求进行检验,并提交检验报告。同时应说明检验用型号规格的典型性。
典型性原则应是同一注册单元内能够代表本注册单元内其他型号规格安全性和有效性的产品。应考虑功能最齐全、结构最复杂、风险最高的产品。如果检验一个型号规格不能覆盖其他型号规格的全部性能功能、安全指标,则可对不能覆盖其他型号规格的差异部分进行检验,如不同波长的激光光源之间的差异、移动式激光定位设备和固定式定位设备在安规、电磁兼容方面的差异。
4.研究资料
根据申报产品适用范围和技术特征,提供非临床研究综述,逐项描述所开展的研究,概述研究方法和研究结论。根据非临床研究综述,提供相应的研究资料,各项研究可通过文献研究、实验室研究、模型研究等方式开展,一般应当包含研究方案、研究报告。采用建模研究的,应当提供产品建模研究资料。
4.1.1应当提供产品物理和/或机械性能指标的确定依据、设计输入来源以及临床意义,所采用的标准或方法、采用的原因及理论基础。
4.1.2注册申请人应结合产品工作原理及适用范围,确定申报产品结构组成或各主要元器件功能性指标并提供详细的研究资料,例如电源模块功能、遥控器控制功能、数据传输的研究资料、电机选型及其性能的验证资料等。
4.2电气系统安全性研究
应当提供电气安全性、机械和环境保护以及电磁兼容性的研究资料,说明适用的标准以及开展的研究。
目前与本产品相关的标准包括:GB 9706.1《医用电气设备 第1部分:基本安全和基本性能的通用要求》,YY 9706.102《医用电气设备 第1-2部分:基本安全和基本性能的通用要求 并列标准:电磁兼容 要求和试验》和GB 7247.1《激光产品的安全第1部分:设备分类、要求》。
4.3软件研究(若适用)
参照《医疗器械软件注册审查指导原则(2022年修订版)》要求提交软件资料。如产品具有网络连接功能方式用以进行电子数据交换、远程访问与控制或用户访问的,需参照《医疗器械网络安全注册技术审查指导原则(2022年修订版)》要求提交网络安全资料。
4.4生物相容性评价研究(若适用)
对产品结构组成中与患者接触部分的生物相容性进行评价。生物相容性评价可根据GB/T 16886.1和《关于印发医疗器械生物学评价和审评指南的通知》的要求进行。生物相容性评价研究资料应当包括:生物相容性评价的依据和方法;产品所用材料的描述及与人体接触的性质;实施或豁免生物学试验的理由和论证;对于现有数据或试验结果的评价。
4.5清洗消毒灭菌工艺研究(若适用)
终端用户清洁和消毒:应当明确推荐的消毒工艺(方法和参数)、工艺的确定依据以及验证的相关研究资料。
4.6证明产品安全性、有效性的其他研究资料。
根据产品的具体特性,需提供的其他研究资料。若产品需与磁共振配合使用,应提供适用于磁共振环境的相关研究资料。
5.稳定性研究
5.1使用稳定性
应依据《有源医疗器械使用期限注册技术审查指导原则》要求,提供产品使用期限分析评价报告。
应根据自身产品临床应用和产品设计情况,确定出产品的关键部件和可更换部件。应明确在预期使用条件下关键部件的使用期限,及可更换部件的定期保养维护时间和更换频次,且应提供确定使用寿命和更换频次的依据。
5.2运输稳定性
应当提供运输稳定性和包装研究资料,证明在生产企业规定的运输条件下,运输过程中的环境条件(例如:震动、振动、温度和湿度的波动)不会对医疗器械的特性和性能造成不利影响,可参考GB/T 14710《医用电器环境要求及试验方法》的要求进行研究。注册申请人应结合声称的储运条件开展包装和环境试验研究,并论述研究设置的合理性。应在申请人所声称的储运条件下进行性能测试,证明运输和环境测试后产品能够保持其完整性和功能性。
6.其他资料
申报产品属于《免于临床评价医疗器械目录》(以下简称目录)中产品,可以按照《列入免于临床评价医疗器械目录产品对比说明技术指导原则》的要求提交相关资料。包括申报产品相关信息与《目录》所述内容的对比资料;申报产品与《目录》中已获准境内注册医疗器械的对比说明。申报产品应与《目录》中产品具有实质等同性。应从基本原理、结构组成、性能要求、适用部位、预期用途等方面进行申报产品与《目录》中已获准境内注册医疗器械的对比。若经对比,存在其他差异的,还应提交差异部分对安全有效性影响的分析研究资料。
(四)临床评价资料
对于符合《目录》下分类编码为05-04-06的“放射治疗激光定位系统”,免于进行临床评价,无需提供临床评价资料。对于《目录》以外的产品,应按照《医疗器械临床评价技术指导原则》的要求,提供相应的临床评价资料。
(五)产品说明书和标签样稿
产品说明书和标签的编写应符合《医疗器械说明书和标签管理规定》、YY/T 1537和相关法规、规范性文件、强制性标准的要求。同时还应注意以下内容:
1.产品的结构组成及性能指标应与产品技术要求内容一致;
2.产品须有经过培训合格的专业人员操作;
3.产品安装要求,包括房间空间、地面条件、电源条件等;
4.产品校准、或与影像和放疗设备配准的方法及步骤;
5.产品维护保养的项目内容、周期及解决方法;产品常见故障和解决方法。
(六)质量管理体系文件
依据《医疗器械注册申报资料要求和批准证明文件格式》的公告提供申报注册产品的质量管理体系文件。
1. 产品生产制造相关要求
应当明确产品生产工艺过程,工艺过程可采用流程图的形式,且应结合产品实际生产过程细化产品生产工艺介绍,应能体现出外协加工部分(如有)、半成品加工过程。工艺流程图中应明示关键工序、特殊过程(如有)、过程控制点、各工序对环境的要求、使用的相关设备以及对设备精度的要求等,并说明其每道工序的操作说明及接收和放行标准,同时对过程控制要点进行详细说明。
2.生产场地
应详细说明产品生产场地地址、生产工艺布局、生产环境要求及周边情况。有多个研制、生产场地,应当概述每个研制、生产场地的实际情况。
三、参考文献
[1]中华人民共和国国务院.医疗器械监督管理条例:中华人民共和国国务院令第739号[Z].
[2]国家市场监督管理总局.医疗器械注册与备案管理办法:国家市场监督管理总局令第47号[Z].
[3]国家药品监督管理局.医疗器械注册申报资料要求和批准证明文件格式:国家药监局公告2021年第121号[Z].
[4]国家药品监督管理局.医疗器械注册自检管理规定:国家药品监督管理局公告2021年第126号[Z].
[5]国家食品药品监督管理局.医疗器械说明书和标签管理规定:国家食品药品监督管理总局令第6号[Z].
[6]国家食品药品监督管理局.医疗器械分类目录:国家食品药品监督管理总局公告2017年第104号[Z].
[7]国家药品监督管理局.医疗器械通用名称命名指导原则:国家药监局通告2019第99号[Z].
[8]国家药品监督管理局.有源手术器械通用名称命名指导原则:国家食品药品监督管理局通告2022年第26号[Z].
[9]国家药品监督管理局. 国家药监局关于发布医用康复器械通用名称命名指导原则等6项指导原则的通告2021年第48号[Z].
[10]国家药品监督管理局.医疗器械产品技术要求编写指导原则:国家药监局通告2022年第8号[Z].
[11]国家药品监督管理局医疗器械审评中心.医疗器械软件注册审查指导原则(2022年修订版):国家药监局器审中心通告2022年第9号[Z].
[12]国家食品药品监督管理局.医疗器械安全和性能基本原则:国家药品监督管理局通告2020年第18号[Z].
[13]国家食品药品监督管理局.医疗器械注册单元划分指导原则:国家食品药品监督管理总局通告2017年第187号[Z].
[14]国家药品监督管理局.免于临床评价医疗器械目录:国家药监局通告2023年第33号[Z].
[15]国家药品监督管理局.列入免于临床评价医疗器械目录产品对比说明技术指导原则:国家药监局通告2021年第73号[Z].
[16]国家药品监督管理局.有源医疗器械使用期限注册技术审查指导原则:国家药品监督管理局通告2019年第23号[Z].
[17]国家药品监督管理局医疗器械审评中心.医疗器械网络安全注册审查指导原则(2022年修订版):国家药监局器审中心通告2022年第7号[Z].
[18]GB 9706.1-2020,医用电气设备 第1部分:基本安全和基本性能的通用要求[S].
[19]GB/T 14710,-2009医用电器环境要求及试验方法[S].
[20]GB/T 16886.1-2022,医疗器械生物学评价 第1部分:风险管理过程中的评价与试验[S].
[21]GB/T 16886.5-2017,医疗器械生物学评价 第5部分:体外细胞毒性试验[S].
[22]GB/T 16886.10-2017,医疗器械生物学评价 第10部分:刺激与皮肤致敏试验[S].
[23]GB/T 16886.12-2017,医疗器械生物学评价 第12部分:样品制备与参照材料[S].
[24]YY 9706.102-2021,医用电气设备 第1-2部分:基本安全和基本性能的通用要求 并列标准:电磁兼容 要求和试验[S].
[25]YY 9706.108-2021,医用电气设备 第1-8部分:基本安全和基本性能的通用要求 并列标准:通用要求,医用电气设备和医用电气系统中报警系统的测试和指南[S].
[26]GB/T 42062-2022,医疗器械风险管理对医疗器械的应用[S].
[27]YY/T 1537-2017,放射治疗用激光定位系统性能和试验方法[S].
附件
风险管理文档
下表所列为产品常见的可能的危险示例,需关注:
表 产品可能的危险示例
可能产生的危险 | 形成因素 | ||
A.能量危险 | |||
电能-漏电流 (电击危害) | 保护接地阻抗,接地不良,对地阻抗大。 可触及部件与带电部分没有充分隔离。 设备的电源插头剩余电压过高。 机器外壳的防护罩封闭不良。 设备没有足够的外壳机械强度和刚度。 外部液体(清洁消毒剂)浸入设备带电部分。 上述情况的出现可造成对使用者或服务人员的电击危害。 | ||
电能-网电源 | 不适当的能量供应:不适当的供电电压或频率导致设备性能降低或损坏。 | ||
电磁能-电磁场 | 设备或部件的电磁发射对附近生命支持或非生命支持电子设备产生干扰。 | ||
电磁能-对电磁干扰的敏感性 | 附近电子设备或环境影响设备设备无法正常使用或定位不准确。 | ||
辐射能-非电离辐射 | 激光灯意外照射眼部。 | ||
热能-高温 | 激光的热危害,导致患者/使用者视力受损。 | ||
A.能量危险 | |||
机械能 | 重力-坠落、悬挂 | 设备不稳定,易翻倒,砸伤患者/使用者。 悬挂部件紧固不牢,防坠装置失效。 | |
运动 部件 | 运动部件极限位置限位保护装置失灵。 运动控制按键失效。 外部液体浸入运动控制按键。 运动控制按键或遥控器误触发。 运动超程。 | ||
其他 机械力 | 如设计、加工不当,有尖角、锐边、毛刺,对使用者和患者易造成划伤、刮伤等。 | ||
患者的移动和定位 | 患者非预期移动,导致定位不准确。 | ||
B.生物学和化学危险 | |||
再感染和/或交叉 感染 | 同操作者接触部分清洗消毒没有明确的规定,可能引起感染。 | ||
C.性能有关的危险 | |||
不正确或不适当的输出或功能 | 电能 | 连接中断时设备可触及部分带电。 | |
操作人员人为输入超限坐标值、数据录入错误 | 设备非预期运动,导致设备故障,对用户造成不便。 | ||
C.性能有关的危险 | |||
不正确或不适当的输出或功能 | 不正确的校准、或与影像和放疗设备配准操作 | 坐标体系失准,患者定位不准确。 | |
数据格式错误 | 设备无法响应。 | ||
功能的丧失或变坏 | 维护不良和老化引起的危害。 对医疗器械寿命的终止缺少适当的决定。应规定激光定位设备的使用寿命,特别是激光灯的寿命等。否则将产生设备老化,安全性能出现隐患等现象。 | ||
使用错误造成的危害、缺乏注意力、不遵守规则、缺乏常识、违反常规 | 未按规定编制产品说明书,使用说明不明确。 由不熟练/未经培训的人员使用易造成危害。
| ||
D. 其他方面的危险 | |||
标记 | 外部和内部标记不全面、标记不足、标记不正确或不能够清楚易认,以及标记不能够永久贴牢。如:警告性说明、输入功率、电源电压、电流、频率、分类、生理效应、接地端子符号、危险电压等标记出现问题。 元器件标记不正确。 | ||
D. 其他方面的危险 | |||
使用说明书、操作 说明书 | 没有使用说明书和技术说明书,或其内容不全、有缺失。如缺少必要的警告说明、缺少详细的使用方法、缺少必要的技术参数、缺少电路图和元器件清单、缺少运输和贮存环境条件的限制。 性能特征的不适当的描述。 不适当的预期使用规范。过于复杂的操作说明。 | ||
警告 | 警告不恰当。 使用激光定位设备进行定位过程中,会产生副作用,如对患者或操作者的眼睛等部位造成伤害。所以应有充分的警告。 | ||
服务和维护规范 | 服务和维护规范缺少或不适当,包括维护后功能性检查规范的不适当。 说明书中应包含维护、保养等内容。如:清洗、预防性检查、保养以及保养周期。 说明书中应提供电路图、元器件清单、校正细则等可供技术人员修理的必须的资料。 技术人员在维修后应对设备进行功能性检查,达到相关要求后是设备再投入使用,否则将带来危害。 | ||
锐边或锐尖角 | 如设计、加工不当,有锐边或锐尖角,对使用者和患者可造成划伤的危害。 | ||
其他 | 设备停电后又恢复时可造成危险。 设备的内部结构和布线不当。 设备不能防止有害进液。 | ||
储存或运行偏离预定的环境条件 | 设备本身不能满足规定的环境条件要求或工作环境得不到满足,导致设备不能够正常运行。 | ||